Elles.top » Дизайн » Телескопическая штанга своими руками

Телескопическая штанга своими руками

0 голосов
Распорная штанга для лазерного уровня
1
Распорная штанга для лазерного уровня

Штанга телескопическая распорная ada Silver
2
Штанга телескопическая распорная ada Silver

Штанга распорная для лазерного уровня 3м
3
Штанга распорная для лазерного уровня 3м

Штатив-штанга телескопический ada instruments Elevation Silver (a00176) 5.0
4
Штатив-штанга телескопический ada instruments Elevation Silver (a00176) 5.0

Распорная штанга-штатив Condtrol
5
Распорная штанга-штатив Condtrol

Тренога для лазерного уровня 3м
6
Тренога для лазерного уровня 3м

Штанга распорная для лазерного уровня 3м
7
Штанга распорная для лазерного уровня 3м

Штанга для металлоискателя деус из пластиковых труб для катушки HF
8
Штанга для металлоискателя деус из пластиковых труб для катушки HF

Hyla телескопическая штанга
9
Hyla телескопическая штанга

Штатив-штанга элевационный Silver Plus в комплекте с треногой 3,6 м ada а00556
10
Штатив-штанга элевационный Silver Plus в комплекте с треногой 3,6 м ada а00556

Firecore штанга для лазерного уровня
11
Firecore штанга для лазерного уровня

Штанга штатив Bosch bt350
12
Штанга штатив Bosch bt350

Штанга для металлоискателя своими руками чертежи
13
Штанга для металлоискателя своими руками чертежи

Штанга штатив Bosch bt350
14
Штанга штатив Bosch bt350

Телескопическая штанга CST/Berger LP 12-um
15
Телескопическая штанга CST/Berger LP 12-um

Штанга Bosch TP 320
16
Штанга Bosch TP 320

Штанга Laserliner Telepod 270 cm
17
Штанга Laserliner Telepod 270 cm

Штатив телескопический для лазерного уровня распорный neroff 3,6 м
18
Штатив телескопический для лазерного уровня распорный neroff 3,6 м

Штанга штатив Bosch bt350
19
Штанга штатив Bosch bt350

Распорная штанга ada Silver
20
Распорная штанга ada Silver

Штанга телескоп
21
Штанга телескоп

Телескопическая штанга (2 609 002 041)
22
Телескопическая штанга (2 609 002 041)

Штатив TP 320 Bosch 0.603.693.100
23
Штатив TP 320 Bosch 0.603.693.100

Штатив штанга для лазерного уровня Kapro
24
Штатив штанга для лазерного уровня Kapro

Штанга Bosch TP 320
25
Штанга Bosch TP 320

Стойка для лазерного уровня ада
26
Стойка для лазерного уровня ада

Штанга распорная 2350*2720*42мм (алюмин)
27
Штанга распорная 2350*2720*42мм (алюмин)

Телескопическая штанга fdum291
28
Телескопическая штанга fdum291

Штанга металлоискателя из полипропилена
29
Штанга металлоискателя из полипропилена

Штанга/Bestway/ телескопическая, 360 см, артикул 58279
30
Штанга/Bestway/ телескопическая, 360 см, артикул 58279

Телескопическая штанга для линейного лазера Crown CAXL-s31
31
Телескопическая штанга для линейного лазера Crown CAXL-s31

Турник дверной распорный Sportage Pull-up large
32
Турник дверной распорный Sportage Pull-up large

Штанга штатив Bosch bt350
33
Штанга штатив Bosch bt350

Штатив-штанга телескопический Elitech 2210.000700
34
Штатив-штанга телескопический Elitech 2210.000700

Unger телескопическая штанга 3-секционная OPTILOC 6 М
35
Unger телескопическая штанга 3-секционная OPTILOC 6 М

Распорная штанга Huepar 4 м
36
Распорная штанга Huepar 4 м

Стойки для лазерных уровней
37
Стойки для лазерных уровней

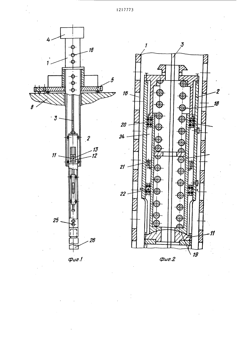
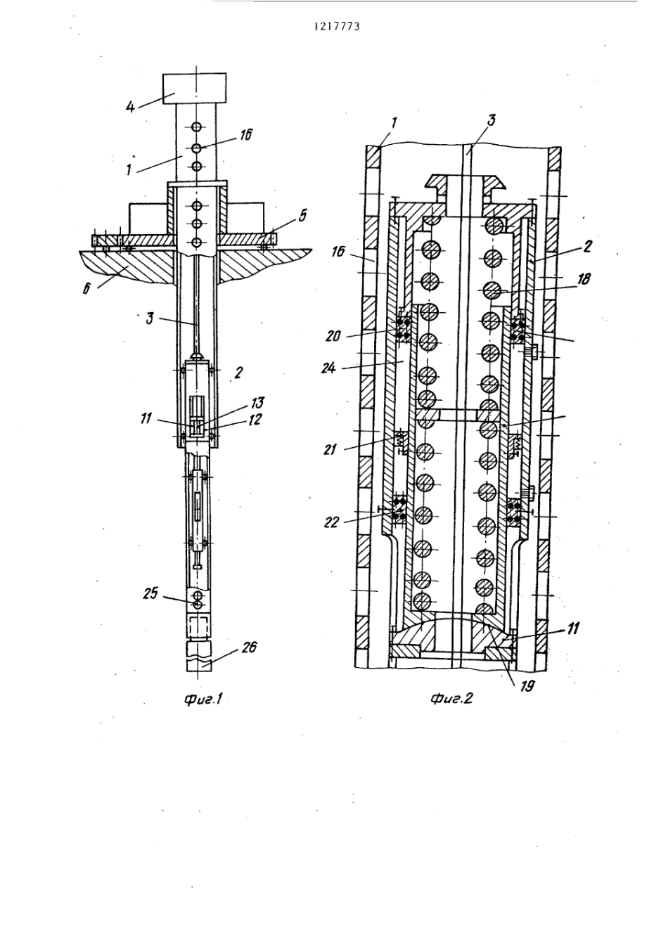
Телескопическая штанга бош схема механизма
38
Телескопическая штанга бош схема механизма

Самодельная стойка для штанги
39
Самодельная стойка для штанги

Штанга телескоп для ванной 3м2
40
Штанга телескоп для ванной 3м2

Штанга телескопическая алюминиевая 2х3
41
Штанга телескопическая алюминиевая 2х3

Стойка регулируемая для штанги Arms ar032
42
Стойка регулируемая для штанги Arms ar032

Штанга Kwazar телескопическая 5 м
43
Штанга Kwazar телескопическая 5 м

Карбоновая штанга x Terra
44
Карбоновая штанга x Terra

Штанга Bosch TP 320
45
Штанга Bosch TP 320

Штанга стыковочного механизма
46
Штанга стыковочного механизма

Телескопическая опора для тента
47
Телескопическая опора для тента

Штанга/Bestway/ телескопическая, 360 см, артикул 58279
48
Штанга/Bestway/ телескопическая, 360 см, артикул 58279

Телескопическая штанга с крючком
49
Телескопическая штанга с крючком

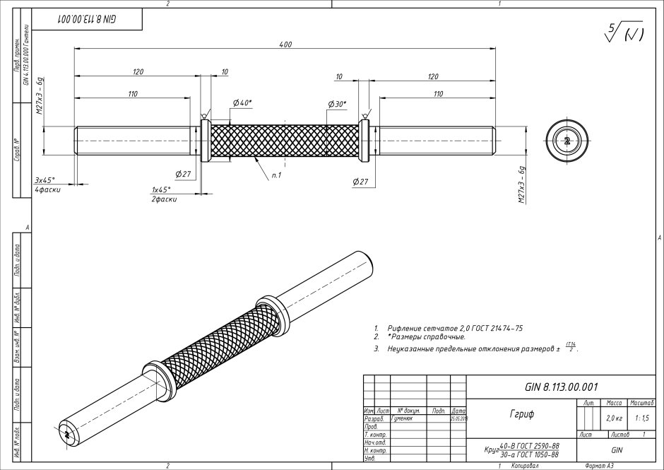
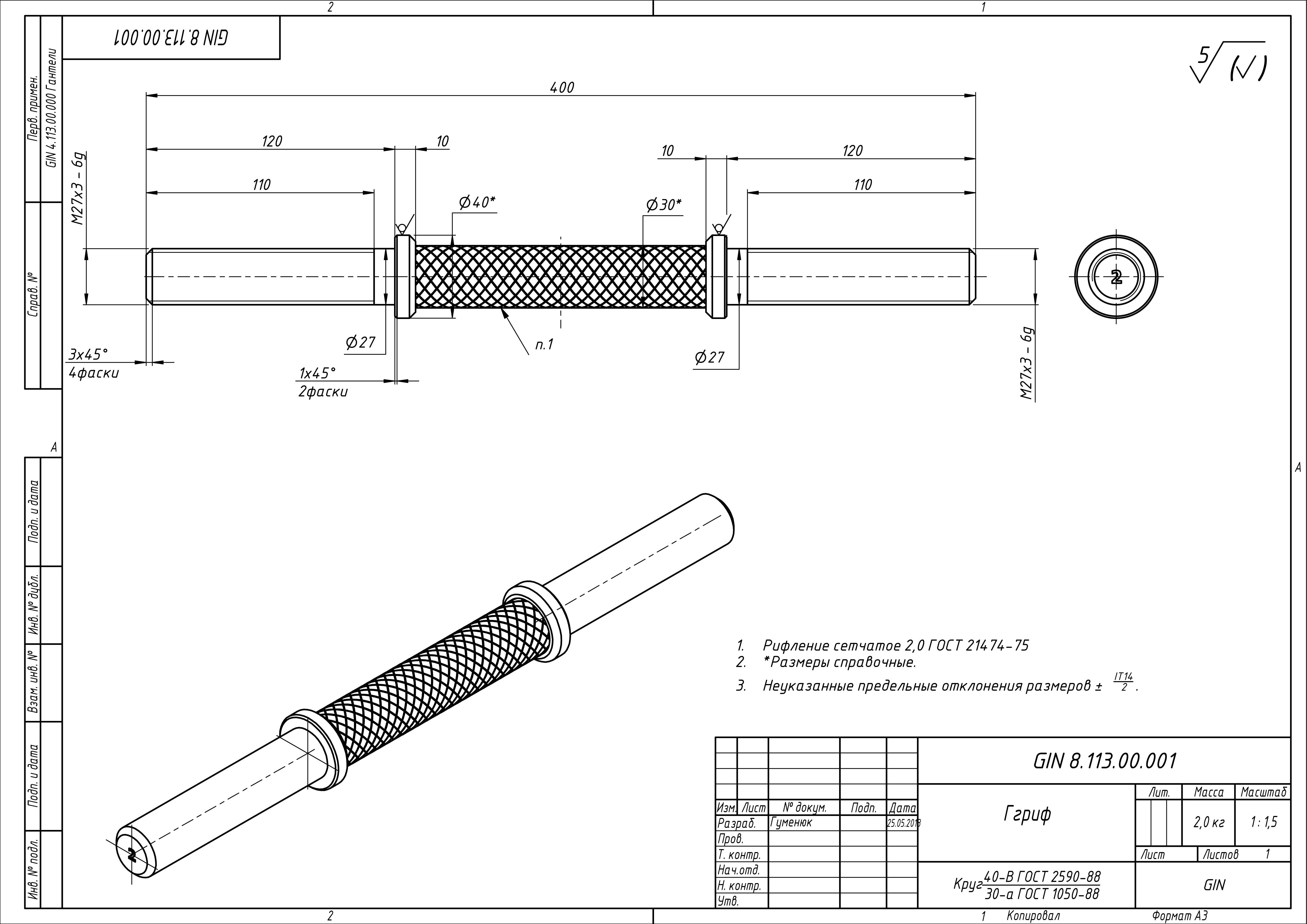
Гантельный гриф чертеж
50
Гантельный гриф чертеж

Ручка МД из стеклоткани
51
Ручка МД из стеклоткани

Стойки для штанги из дерева
52
Стойки для штанги из дерева

Чертеж скамьи для жима лежа пауэрлифтинг
53
Чертеж скамьи для жима лежа пауэрлифтинг

Регулируемый стержень для штор
54
Регулируемый стержень для штор

Штатив усиленный для лазерного уровня, 1,2 м, резьба 5/8" Sturm 4012-01-12
55
Штатив усиленный для лазерного уровня, 1,2 м, резьба 5/8" Sturm 4012-01-12

0603693100 Телескопическая стойка Bosch TP 320
56
0603693100 Телескопическая стойка Bosch TP 320

Телескопическая штанга для минелаб Эквинокс 800
57
Телескопическая штанга для минелаб Эквинокс 800

Телескопическая штанга BT 350 professional
58
Телескопическая штанга BT 350 professional

Штатив-штанга телескопический ada instruments Elevation Silver
59
Штатив-штанга телескопический ada instruments Elevation Silver

Штанга Peraqua 2,4-4,8 м
60
Штанга Peraqua 2,4-4,8 м

Телескопическая штанга grass 0.6х2м
61
Телескопическая штанга grass 0.6х2м

Штанга телескопическая 6м
62
Штанга телескопическая 6м

Самодельная штанга для МД 4030
63
Самодельная штанга для МД 4030

64

65

66
Больше дизайн идей:
Комментарии (0)
Кликните на изображение чтобы обновить код, если он неразборчив