Elles.top » Дизайн » Сушильный шкаф своими руками

Сушильный шкаф своими руками

0 голосов
Сушильный шкаф для копчения
1
Сушильный шкаф для копчения

Шкаф для сушки грибов
2
Шкаф для сушки грибов

Сушильный шкаф для керамических изделий
3
Сушильный шкаф для керамических изделий

Сушильный шкаф дегидратор сушилка
4
Сушильный шкаф дегидратор сушилка

Шкаф сушильный Практик ШС сахара 5
5
Шкаф сушильный Практик ШС сахара 5

Сушильный шкаф чертеж
6
Сушильный шкаф чертеж

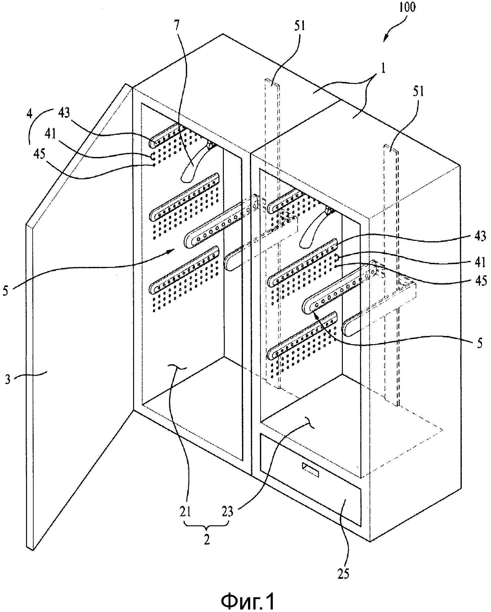
Сушильный шкаф XMD-16
7
Сушильный шкаф XMD-16

Шкаф сушильный ИПКС-131
8
Шкаф сушильный ИПКС-131

Сушильный шкаф
9
Сушильный шкаф

Самодельная сушилка для овощей
10
Самодельная сушилка для овощей

Шкаф сушильный ШСП-0.5-450
11
Шкаф сушильный ШСП-0.5-450

Сушильный шкаф IDS-120 large Industrial Drying
12
Сушильный шкаф IDS-120 large Industrial Drying

Сушильный шкаф конвекционный чертеж
13
Сушильный шкаф конвекционный чертеж

Сушильная камера ИК-4
14
Сушильная камера ИК-4

Шкаф для Вялки и сушки VG-15
15
Шкаф для Вялки и сушки VG-15

Сушильный шкаф для овощей и фруктов своими руками чертежи
16
Сушильный шкаф для овощей и фруктов своими руками чертежи

Шкаф для сушки одежды своими руками
17
Шкаф для сушки одежды своими руками

Солнечная сушилка для фруктов чертеж
18
Солнечная сушилка для фруктов чертеж

Шкаф для копчения с просушкой
19
Шкаф для копчения с просушкой

Сушильный шкаф на дровах
20
Сушильный шкаф на дровах

Конструкции сушилок
21
Конструкции сушилок

Схема подключения сушильного шкафа
22
Схема подключения сушильного шкафа

Сушильный шкаф CJM 700
23
Сушильный шкаф CJM 700

DSO 1500 сушильный шкаф
24
DSO 1500 сушильный шкаф

Сушильный шкаф т75-36 дегидратор, сушилка
25
Сушильный шкаф т75-36 дегидратор, сушилка

Конвективно-контактная сушка
26
Конвективно-контактная сушка

Сушильные шкафы для одежды и обуви для детского сада
27
Сушильные шкафы для одежды и обуви для детского сада

Сушильная камера Mgr-30 чертеж
28
Сушильная камера Mgr-30 чертеж

Сушильные камеры для древесины своими руками чертежи
29
Сушильные камеры для древесины своими руками чертежи

Сушильный шкаф рисунок
30
Сушильный шкаф рисунок

Сушильная камера СП-2кп чертеж
31
Сушильная камера СП-2кп чертеж

Шкаф сушильный ШРС-В-1000
32
Шкаф сушильный ШРС-В-1000

Сушилка для белья в квартире
33
Сушилка для белья в квартире

Инфракрасный сушильный шкаф РШС-03и
34
Инфракрасный сушильный шкаф РШС-03и

Сушильный шкаф Вымпел
35
Сушильный шкаф Вымпел

Сушка древесины электроосмосом
36
Сушка древесины электроосмосом

Небольшой сушильный шкаф для жидкого фоторезиста
37
Небольшой сушильный шкаф для жидкого фоторезиста

Сушильный шкаф dc7784v.s
38
Сушильный шкаф dc7784v.s

Сушильная камера для вяления и сушки рыбы и морепродуктов (Тип к-300)
39
Сушильная камера для вяления и сушки рыбы и морепродуктов (Тип к-300)

Шкаф сушильный ШСП-0,25-200
40
Шкаф сушильный ШСП-0,25-200

Лабораторный сушильный шкаф Электродело
41
Лабораторный сушильный шкаф Электродело

Сушильный шкаф ШС-4 сп3 ф
42
Сушильный шкаф ШС-4 сп3 ф

Сушилка чертёж компас 3д
43
Сушилка чертёж компас 3д

Сушильная камера Валмет 3 чертеж
44
Сушильная камера Валмет 3 чертеж

Шкаф сушильный ШС циклон
45
Шкаф сушильный ШС циклон

Конвектор водяной в сушильный шкаф для одежды
46
Конвектор водяной в сушильный шкаф для одежды

Шкаф сушильный Рубин РШС
47
Шкаф сушильный Рубин РШС

Ящик для вяления с вентилятором
48
Ящик для вяления с вентилятором

Сушилка для пыльцы Лысонь
49
Сушилка для пыльцы Лысонь

Сушильный шкаф ШСП-220
50
Сушильный шкаф ШСП-220

Сушильный шкаф для белья
51
Сушильный шкаф для белья

Сушильный шкаф cz-802a
52
Сушильный шкаф cz-802a

Зимин сушильная калориферная камера для сушки изоляции двигателей
53
Зимин сушильная калориферная камера для сушки изоляции двигателей

Конвективный метод сушки овощей и фруктов
54
Конвективный метод сушки овощей и фруктов

Шкаф сушильный ШГС/С-800/Р
55
Шкаф сушильный ШГС/С-800/Р

Самодельная сушилка для рыбы
56
Самодельная сушилка для рыбы

Самодельная сушилка для рыбы с вентилятором
57
Самодельная сушилка для рыбы с вентилятором

Сушилка для обуви из полипропиленовых труб
58
Сушилка для обуви из полипропиленовых труб

Помещение для сушки трав
59
Помещение для сушки трав

60
Больше дизайн идей:
Комментарии (0)
Кликните на изображение чтобы обновить код, если он неразборчив